Honda VFR 750 F 90-93
| STK. | REF.NR. | OEM NR. | BRUGT RESERVEDEL |
| 1 | 7 | 33600-MT4-611 | BLINKLYS, H/BAG |
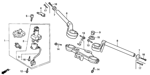
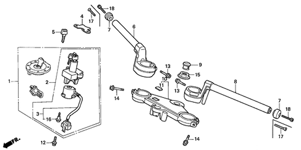
| STK. | REF.NR. | OEM NR. | BRUGT RESERVEDEL |
| 1 | 10 | 53300-MT4-000 | GAFFELBRO, ØVERST. NØGLE RIDSER |
| STK. | REF.NR. | OEM NR. | BRUGT RESERVEDEL |
| 1 | 13 | 50711-MT4-000 | HOLDER, FODHVILER, H/BAG, RIDSET |
| 1 | 2 | 50600-MT4-000 | HOLDER, FODHVILER H/FOR. |
| STK. | REF. NR. | OEM NR. | BRUGT RESERVEDEL |
| 1 | 11 | 18330-MT4-003 | FLANGE, UDSTØD. B. |
| 2 | 1 | 18230-MT4-000 | FJEDER |
| 2 | 3 | 18232-MT4-000 | BØSNING |
| 2 | 2 | 18231-MT4-000 | BOLT |
| STK. | REF.NR. | OEM NR. | BRUGT RESERVEDEL |
| 2 | 6 | 46500-MT4-000 | ARM, BREMSE |
| 1 | 1 | 24701-MT4-000 | ARM, GEAR |
| STK. | REF.NR. | OEM NR. | BRUGT RESERVEDEL |
| 2 | 31 | 17611-ML7-000 | GUMMI |
| STK. | REF.NR. | OEM NR. | BRUGT RESERVEDEL |
| 1 | 6 | 19037-KV3-003 | PROP, KØLER |